资讯 
了解行业以及华进新闻资讯。
审查意见“模糊”?来学几招“argue”技能!
2021-06-23
The Author :
作 者:卢晓霞 华进国内专利事业部
审 稿:周 玲 华进战略与发展委员会
>>> 引 言
在发明专利申请的实质审查过程中,专利案件的答复无疑是一个与审查员博弈的过程。虽然,为了避免审查意见评述的主观性,引入了“本领域技术人员”,但实务中我们收到的很多审查意见并不客观。其中,不少审查意见会出现审查员对于特征的“模糊”评述以及对于案件事实“顾左右而言他”的认定,若代理师在答复这类审查意见时,未针对审查意见进行全面有效、有的放矢、针尖对麦芒的答复,则后续审查意见的走向将不容乐观,最终使得案件走向驳回。
那么,在收到这类关于创造性的审查意见时,该如何基于审查意见全面清晰地对方案进行剖析,且有针对性地进行答复呢?
下面笔者将结合具体案件,深入分析关于创造性的“模糊的”第一次审查意见,与读者们共同探讨这类答复的方法与要点。
>>> 案例分析
本案为某项天线发明专利,其说明书中记载的发明所要解决的技术问题如下:
现有天线尺寸的减小与性能的提升不能同时满足,缩减天线尺寸会引起天线的增益下降。
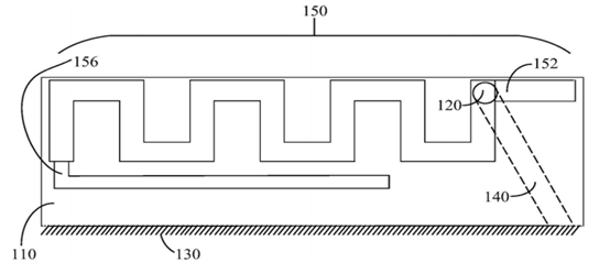
为了解决这个技术问题,本案在天线基板110的第一板面上印制相互电连接的地线层130和接地线路层140,在基板的第二板面上印制天线主体150,天线主体150通过贯穿基板的金属过孔120电连接接地线路层140……

进入实审阶段后审查员发出一通,认为对比文件D1和D2以及公知常识的结合影响了评述权1-10的创造性。
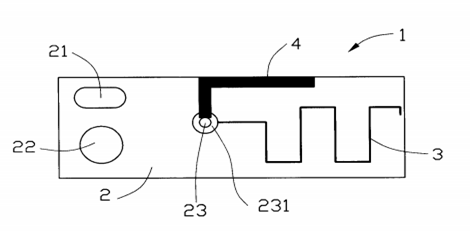
其中,D1公开了一种微带贴片天线,包括一基板1和信号线2,该基板1的一侧设有接地结构,所述接地结构设有L形的高频接地部16和长方形的低频接地部17;所述基板1的中部设有高频辐射体12,该高频辐射体12的一端设有信号馈入部11;所述基板1的另一侧设有低频辐射体13,所述低频辐射体13通过一连接部14连接于所述信号馈入部11……

D2公开了一种多频天线1,包括绝缘基板2、设置在绝缘基板2上表面的矩形波状的第一辐射部3、L形的第二辐射部4、设在绝缘基板2下表面的接地部5和馈线6。第一辐射部3、馈线6和接地部5构成工作在第一频段的第一单极天线;而第二辐射部4、馈线6和接地部5构成工作在第二频段的第二单极天线。第一单极天线可借助预设间距大小的调整实现较为理想的阻抗匹配。绝缘基板2中部开设有第三通孔23,且绝缘基板上表面围绕第三通孔23设有环形金属片231……



接下来,我们看一下本案的独立权利要求1:
1、一种天线,其特征在于,包括:
基板,所述基板包括第一板面和与所述第一板面相对的第二板面;用于连通所述第一板面和所述第二板面的金属过孔;
地线层……
电连接所述地线层的接地线路层……
通过所述金属过孔电连接所述接地线路层的天线主体……所述天线主体包括馈线、蛇形辐射单元以及天线折回单元;所述蛇形辐射单元的一端与所述馈线的一端电连接、另一端与所述天线折回单元的一端电连接;所述天线折回单元设置于所述蛇形辐射单元与所述基板的侧面之间……
从对方案的分析以及上述附图粗略可以看到,权1的上述特征以“天女散花”的视角来看,已基本被对比文件1、2字面公开,区别在于:本申请中天线折回单元的线宽小于蛇形辐射单元的线宽,而在第一次审查意见中,审查员的事实认定也与上述的结论基本相同,将上述线宽的区别作为公知常识,认为权1是不具备创造性的。
若跟着审查意见“模糊”的感觉走,仅对方案进行“表面”分析,本案的授权前景或将命悬一线。其中,对比文件1、2实质上都具有天线小型化的同时提高其性能的作用,即提高天线的阻抗匹配效果,且公开了本申请的大部分特征。
那么,对于这种乍一看构思和特征基本被公开了的情况,应该具体从哪些方面入手呢?
方法一、技术特征各个击破
从审查意见的事实认定出发,对独权的技术特征进行逐个分析,是否有被对比文件1公开?
参见下方关于第一次审查意见的截图:

STEP 1 技术特征分析
从上面的审查意见评述可以看出,审查意见中未评述的技术特征,也并未出现在审查意见的区别技术特征中,总而言之就是“被评述的技术特征少,区别特征更少”。可见,审查员实际上也并未针对本申请的特征进行逐一分析,而是简单地将部件特征进行粗暴地比对之后得到一个简单粗暴的结论。
众所周知,技术特征与技术特征之间的联系也是技术特征,权利要求1不仅包括折回单元、蛇形辐射单元等部件特征,还有各自的连接关系特征。审查意见将各自的连接关系特征忽略了,让人误以为对比文件1公开了上述连接关系特征,而实质上对比文件1并未公开上述连接关系特征。
根据对比文件1的上述附图,对比文件1的蛇形结构的连接部以及折回结构的辐射体都是与馈线连接,而本申请的天线折回单元并未直接与馈线电连接,只是蛇形辐射单元的一端通过金属通孔与馈线电连接。审查意见中忽略了对关系特征的事实认定。
STEP 2 区别技术特征对比
审查意见中给出本申请与对比文件1的区别特征(1)为:权利要求1的接地结构位于基板的第一板面,其中限定了具体的接地结构。
而权1记载的特征是:基板还包括用于连通所述第一板面和所述第二板面的金属过孔;地线层,所述地线层印制在所述第一板面上;电连接所述地线层的接地线路层,所述接地线路层面印制在所述第一板面上;通过所述金属过孔电连接所述接地线路层和天线主体,所述天线主体印制在所述第二板面上。
在审查意见中,审查员只是将较多的技术特征抽象概括成对比文件1未公开具体的接地结构,视觉上让人觉得区别很少。
其中,客观的区别技术特征很多,但审查意见并未明确该接地结构是指代地线层还是接地线路层。在整个审查意见中,均未对“基板还包括用于连通所述第一板面和所述第二板面的金属过孔,通过所述金属过孔电连接所述接地线路层和天线主体”进行任何事实认定,也未将其作为区别。在审查意见中,审查员通过障眼法形式的评述将权利要求1的具体特征模糊化、上位化甚至隐形之后进行事实认定。
因此,面对这类审查意见时,专利代理师一定要保持清醒,在对审查意见进行细致分析,以及对权利要求1的特征一一比对的前提下,客观、公正地得出权利要求1与对比文件1的如下区别特征:
(1)天线基板包括用于连通第一板面和第二板面的金属过孔,所述第一板面印制有地线层和接地线路层,所述接地线路层电连接在所述金属过孔与所述接地层之间;所述第二板面印制有天线主体,所述天线主体通过所述金属过孔电连接所述接地线路层和天线主体;
(2)所述天线主体包括馈线、蛇形辐射单元以及天线折回单元;所述金属过孔与所述蛇形辐射单元的一端、所述馈线的一端在所述第二板面进行电连接,所述蛇形辐射单元的一端与所述馈线的一端电连接、另一端与所述天线折回单元的一端电连接;
(3)所述天线折回单元设置于所述蛇形辐射单元与所述基板的侧面之间;所述天线折回单元的线宽小于所述蛇形辐射单元的线宽。
经过对审查意见的逐一分析和对比之后,我们重新确定的区别特征相对于审查意见所给出的两句话区别特征而言,区别特征更为客观,基于重新确定的上述区别特征进行创造性的论述则有利得多。
方法二、重视说明书的解释作用
专利法第五十九条第一款规定了,发明或者实用新型专利权的保护范围以其权利要求的内容为准,说明书以及附图可以用于解释权利要求的内容。因此,可从说明书出发,寻找与上述重新确定的区别特征,进一步突出发明点的内容。
尽管前述已经对审查意见中的事实认定进行了充分质疑,但对审查意见的评述质疑,最终仍然要回归到对于本申请与对比文件1、2技术方案的深入剖析上。故应当仔细研读说明书内容,从说明书实施例中找寻上述区别的有力支撑点,对独权的内容进行合理的修改,更充分地与对比文件1、2的方案进行区分。
上述论述了,权利要求1与对比文件1的主要区别在于:
天线结构与接地层设置位置的不同,以及二者的连接关系;因此修改以及答复的重点放在审查意见中未评述的技术特征,在说明书第0050段给出了,接地线路层的形状和方向能够通过改变地回路的寄生参数影响天线的性能,因此在权利要求1中增加了“所述接地线路层根据预设的天线性能需求对应设置接地线路层的形状以及与所述地线的连接方向”;同时经过对本申请附图1与对比文件2的方案分析,本申请是金属过孔与辐射单元的一端、馈线的一端在第二板面上进行电连接;即辐射单元与馈线在同一面经过金属过孔进行电连接。而对比文件2是第一、第二辐射部在绝缘板上表面,而接地部及馈线在绝缘板下表面,即辐射部与馈线是在不同面经过金属过孔电连接。
通过上述两点对独权进行修改,同时对权利要求1的整体布局进行了调整,得到修改后的权利要求1如下:
一种天线,其特征在于,包括:
基板……
所述第一板面印制有地线层和接地线路层……所述接地线路层根据预设的天线性能需求对应设置接地线路层的形状以及与所述地线的连接方向;
所述第二板面印制有天线主体,通过所述金属过孔电连接所述接地线路层和天线主体……所述金属过孔与所述蛇形辐射单元的一端、所述馈线的一端在所述第二板面进行电连接,所述蛇形辐射单元的一端与所述馈线的一端电连接、另一端与所述天线折回单元的一端电连接……
因此,在对说明书实施例以及与对比文件1、2方案分析的基础上形成答复思路,在独权中进一步限定接电线路层的位置、形状以及连接关系,突出可以在不改变天线结构的前提下,实现天线的通用化;同时在天线基板的同一面设置辐射单元、馈线,并通过金属过孔在同一面电连接辐射单元和馈线,进一步实现天线小型化。而对比文件2是在基板的两面电连接辐射部和馈线,无法实现天线小型化。
>>> 结 语
综上所述,专利代理师或撰写人在答复关于创造性的审查意见通知书,尤其进行“模糊”、“障眼法式”评述的审查意见时,应该秉持怀疑态度,清醒的意识,并做好以下事项。
(一)通读权利要求书
在深入分析本申请和对比文件1的基础上,专利代理师或撰写人需先通读权利要求书,确认独权的技术方案是否已经完全表征了发明构思所在,判断权利要求的撰写是否需要基于答复内容进行调整,以及是否存在审查意见未指出的形式缺陷等问题。如果存在上述缺陷,在答复时可以一并修改,以确保在创造性高度较好时,进行不限缩保护范围的形式上的修改。
(二)仔细研读审查意见
在通读技术方案和权利要求的基础上,专利代理师或撰写人还需仔细研读审查意见,判断其中是否存在事实认定错误,是否存在审查员遗漏了某些技术特征或对某些具体技术特征进行“模糊”评述等问题。
在答复这类审查意见时,专利代理师或撰写人更要仔细分析,对审查意见中所存在的任何事实认定问题进行充分质疑,并基于审查意见对权利要求1的特征进行具体化分析,从而通过深入剖析审查意见为后续确定更多的区别特征做铺垫。
(三)把握技术方案的实质
在对申请文件、对比文件、审查意见进行深入透彻的理解的前提下,把握技术方案的实质,从而在撰写意见陈述书时,能够列明不同之处,说明为什么不同,现有技术为什么无法给出技术启示。
(四)注重沟通
此外,专利代理师还要注重与发明人的技术沟通以及与审查员的电话沟通。因为,文字是冰冷的,语言是有温度的,文字陈述的内容有的时候不免存在局限。
本案在上述分析的过程中,与发明人就技术方案进行了多次技术沟通,尽可能将本申请的技术方案的核心发明点,以及与对比文件1的方案在技术上的区别在意见陈述中进行完善,同时在完成意见陈述书的整体撰稿之后,进一步就方案本身和审查意见与审查员进行了有效地电话沟通,从而使得前景本不乐观的案件,在进行充分、全面、有效地一通答复之后得到了授权。
如果对每一件类似的审查意见都能做到充分、全面、有效地答复,认真分析审查意见,认真给审查意见“找茬”,认真把所有可以答复的“招数”都使出来,或许能够大大降低后续三通四通五通的概率,从而能够快速地授权结案。
最后,希望以上内容能够对大家有所帮助,也欢迎业内同仁多多指点、交流。

Copyright © 2021 华进联合专利商标代理有限公司.All Rights Reserved.粤ICP备12081038号